切换语言
全国
桌面版
手机版
二维码
购物车
选择频道搜索
商城
采购
供应
会展
行情
新闻
视频
厨卫日用
换热器
公司
床
大
车
长白山特产
水泥
机械五金
挂车
首页
商城
采购
供应
会展
行情
新闻
视频
抖音
吉林CEO
吉字牌
吉林宝
吉交会
响学会
博物馆
吉通天下
响铃公主
首页
>
供应
>
农牧/农机具/园艺
>
农机工具
>
颗粒机
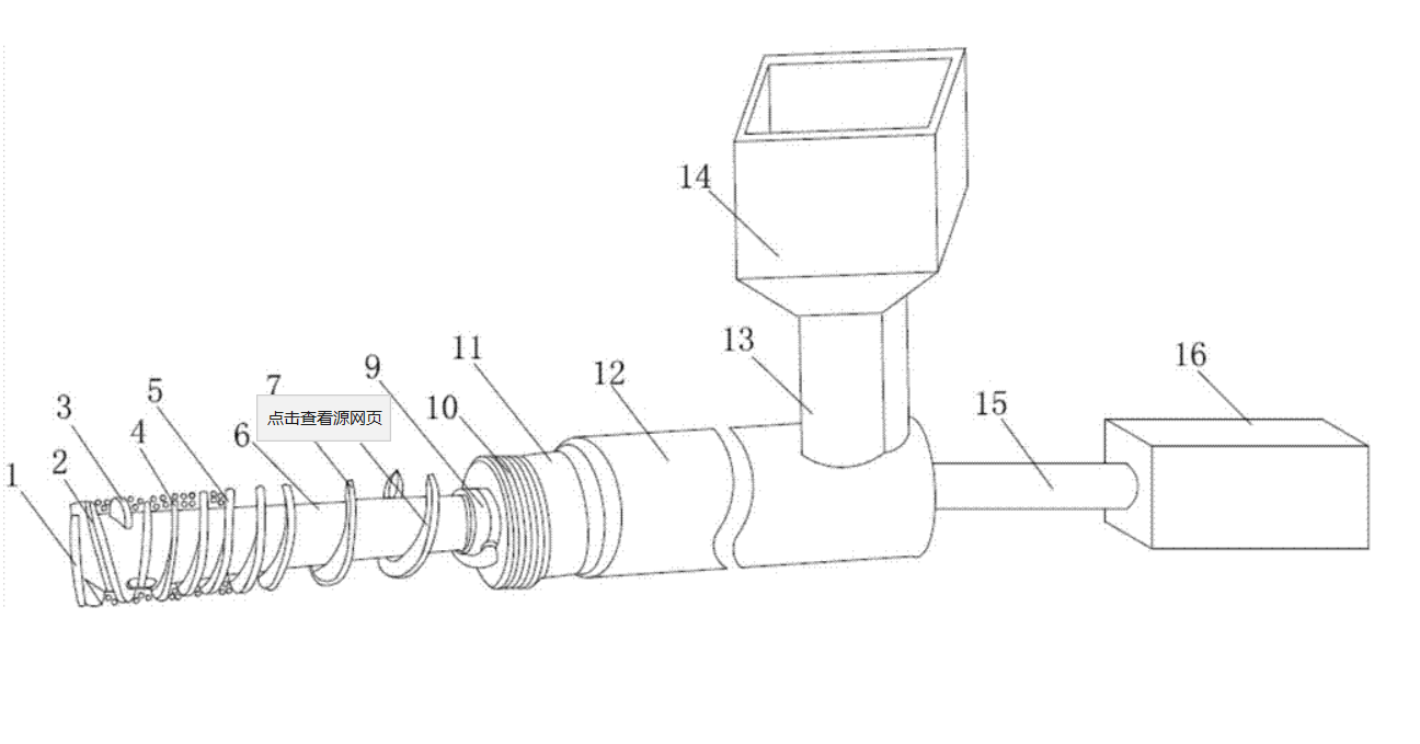
一种玉米面预处理设备及玉米面预处理工艺制造技术
单价
¥
2000.00
对比
销量
暂无
浏览
169
发货
延边州延吉市
付款后3天内
库存
200
起订1
品牌
一种玉米面预处理设备及玉米面预处理工艺制造技术
过期
长期有效
更新
2020-02-09 12:59
联系方式
加关注
0
延边阿拉里机械设备制造有限公司
企业会员
第7年
资料
未认证
保证金
未缴纳
延边州-延吉市
上次登录 2020-02-09
•
0433-8157858
15585560999
李虎山 (先生) 法定代表人
进入主页
更多供应
详细说明
玉米粉制造高速机
点赞
0
举报
收藏
0
分享
44
更多
>
本企业其它产品
网站首页
|
广告服务
|
关于我们
|
联系方式
|
隐私政策
|
评价细则
|
使用协议
|
版权隐私
|
排名推广
|
广告服务
|
网站留言
|
帮助中心
|
网站地图
|
违规举报
吉ICP备09011022号
22030202000014
新VR案例
新怀德酒
特色出口馆
吉林工程职业学院
无名麻将馆
远大换热装备集团
德乐农业
投产仪式
长春兴隆综保区
饭姑娘野生山核桃仁酱
长春明日装饰材料
吉林.蒙古